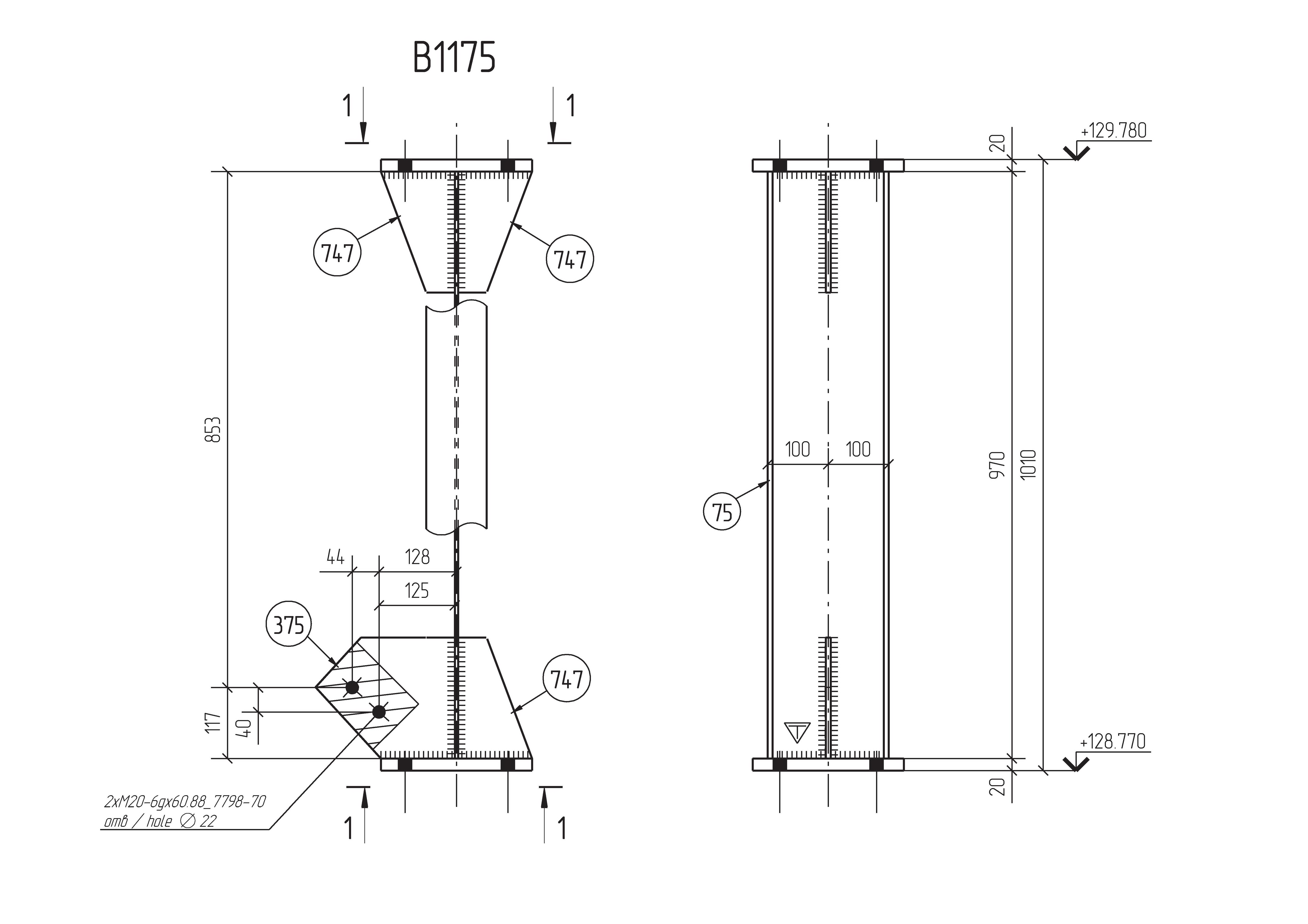
Добрый день! Получили от Заказчика комплект КМД для изготовления металлоконструкций. Чертежи выполнены в текле, модель есть (правда без доступа к чертежам). В некоторых чертежах увидели конструкции с местными разрезами. Как такие возможно выполнить в текле? И кто-нибудь делал такие?
Местный разрез на чертежах Tekla Structures
Re: Местный разрез на чертежах
Да, тоже хотелось бы узнать, как это сделано
Re: Местный разрез на чертежах
вручную...
присмотритесь, по краю полки идет скрывающая линия (видны пробелы на других деталях). Деталям изменены свойства контура на сплошную основную линию. Делал так несколько раз, но лениво.
присмотритесь, по краю полки идет скрывающая линия (видны пробелы на других деталях). Деталям изменены свойства контура на сплошную основную линию. Делал так несколько раз, но лениво.
Re: Местный разрез на чертежах
Очень трудоемко?
Но смотрится здорово
Но смотрится здорово
- Таран Д. А.
- Администратор
- Сообщения: 2877
- Регистрация: 30 ноя 2011, 18:41
- Откуда: г. Москва
- Контактная информация:
Re: Местный разрез на чертежах Tekla Structures
Вот от куда у людей столько свободного времени чтобы делать такую ерунду? Вот чем разрез по всей балке был бы хуже?
Администратор Topengineer.ru 8 (495) 215-07-79 (офис) ; 8 (925) 755-9318 (сот.); Skype wildomen ; http://vk.com/tekla_structures
Разработка КМД | Разработка КМ | Разработка КЖ | Обучение Tekla Structures | Купить Tekla Structures
Разработка КМД | Разработка КМ | Разработка КЖ | Обучение Tekla Structures | Купить Tekla Structures
phpbb3 styles
Кто сейчас на конференции
Сейчас этот форум просматривают: нет зарегистрированных пользователей и 8 гостей

