Практический семинар Tekla Structures 2017

Узел квадратной трубы в Tekla Structures

Ответить
Lis.Y
Сообщения: 1
Регистрация: 17 июн 2017, 23:08

Узел квадратной трубы в Tekla Structures

Сообщение Lis.Y » 04 окт 2017, 17:07

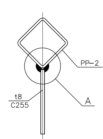
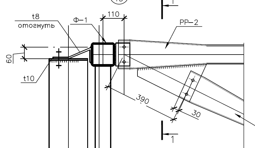
Добрый день. В КМ есть такой чудный узел. Как сделать эту... приплюснутую трубу??? Буду очень благодарен.
Вложения
1.PNG
2.PNG
2.PNG (10.45 КБ) 2425 просмотров

bert30
Сообщения: 80
Регистрация: 03 дек 2014, 09:37

Re: Узел квадратной трубы.

Сообщение bert30 » 04 окт 2017, 20:44

Почитай здесь
viewtopic.php?f=5&t=3633#p20405

Ответить
phpbb3 styles

Вернуться в «3D моделирование в Tekla Structures»

Кто сейчас на конференции

Сейчас этот форум просматривают: нет зарегистрированных пользователей и 1 гость