Спиральные рёбра не вытяжной трубе в Tekla Structures
-
Flamderwinght
- Сообщения: 42
- Регистрация: 03 фев 2014, 20:22
- Откуда: Минск
- Контактная информация:
Спиральные рёбра не вытяжной трубе в Tekla Structures
Ума не приложу как сделать такие спиральные рёбра на трубе. Мало того что они идут по спирали, так они ещё и с уменьшением сечения, да и вдобавок прорезные. Подскажите хотя бы как сделать такие цельные? Весь мозг сломал.
- Таран Д. А.
- Администратор
- Сообщения: 2877
- Регистрация: 30 ноя 2011, 18:41
- Откуда: г. Москва
- Контактная информация:
Re: Спиральные рёбра не вытяжной трубе
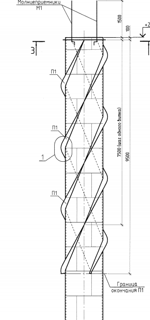
Вот пример.
Кусочки все прямые просто их много
Кусочки все прямые просто их много
- Вложения
Администратор Topengineer.ru 8 (495) 215-07-79 (офис) ; 8 (925) 755-9318 (сот.); Skype wildomen ; http://vk.com/tekla_structures
Разработка КМД | Разработка КМ | Разработка КЖ | Обучение Tekla Structures | Купить Tekla Structures
Разработка КМД | Разработка КМ | Разработка КЖ | Обучение Tekla Structures | Купить Tekla Structures
-
Flamderwinght
- Сообщения: 42
- Регистрация: 03 фев 2014, 20:22
- Откуда: Минск
- Контактная информация:
Re: Спиральные рёбра не вытяжной трубе
а как массив-то такой задать? Как На заводе это сделать я знаю. Проблемка в том как нарисовать такое?)
Re: Спиральные рёбра не вытяжной трубе в Tekla Structures
Врукопашную один оборот, а потом копировать. Я другого метода не знаю, может кто знает другой...
- vladimir_a
- Сообщения: 699
- Регистрация: 07 дек 2011, 21:22
-
Flamderwinght
- Сообщения: 42
- Регистрация: 03 фев 2014, 20:22
- Откуда: Минск
- Контактная информация:
Re: Спиральные рёбра не вытяжной трубе в Tekla Structures
Спасибо, ребята. Всё понял)) Всё было куда проще чем я думал)))
phpbb3 styles
Кто сейчас на конференции
Сейчас этот форум просматривают: нет зарегистрированных пользователей и 6 гостей

