Моделирование шпильки с гайками на концах
Моделирование шпильки с гайками на концах
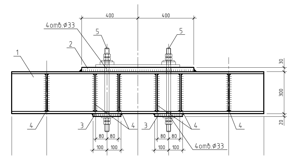
Здравствуйте, подскажите как возможно замоделировать шпильку с гайками и шайбами на обоих концах
Прикладываю чертеж
Прикладываю чертеж
Re: Моделирование шпильки с гайками на концах
Выполнить балками круглого сечения (сама шпилька и шайбы), а гайки шестигранником.
Re: Моделирование шпильки с гайками на концах
А как выполнить подсчет метизов и просто подсчета металла, ведь это будет металл, а не метизыRHSY писал(а):Выполнить балками круглого сечения (сама шпилька и шайбы), а гайки шестигранником.
Re: Моделирование шпильки с гайками на концах
Поколдовать в редакторе шаблонов и создать спецификацию или ведомость с включением этих шпилек
- Таран Д. А.
- Администратор
- Сообщения: 2877
- Регистрация: 30 ноя 2011, 18:41
- Откуда: г. Москва
- Контактная информация:
Re: Моделирование шпильки с гайками на концах
В среде топинженер это стандартный функционал в раше нет вообще.
Администратор Topengineer.ru 8 (495) 215-07-79 (офис) ; 8 (925) 755-9318 (сот.); Skype wildomen ; http://vk.com/tekla_structures
Разработка КМД | Разработка КМ | Разработка КЖ | Обучение Tekla Structures | Купить Tekla Structures
Разработка КМД | Разработка КМ | Разработка КЖ | Обучение Tekla Structures | Купить Tekla Structures
Re: Моделирование шпильки с гайками на концах
Добрый день
Подскажите, команду чтобы смоделировать данные шпильки в среде топинженерТаран Д. А. писал(а):В среде топинженер это стандартный функционал в раше нет вообще.
- Таран Д. А.
- Администратор
- Сообщения: 2877
- Регистрация: 30 ноя 2011, 18:41
- Откуда: г. Москва
- Контактная информация:
Re: Моделирование шпильки с гайками на концах
рисуй балкой в свойствах в пользовательских атрибутах укажи что за метиз и как его звать
Администратор Topengineer.ru 8 (495) 215-07-79 (офис) ; 8 (925) 755-9318 (сот.); Skype wildomen ; http://vk.com/tekla_structures
Разработка КМД | Разработка КМ | Разработка КЖ | Обучение Tekla Structures | Купить Tekla Structures
Разработка КМД | Разработка КМ | Разработка КЖ | Обучение Tekla Structures | Купить Tekla Structures
-
Ivan.cherkunov
- Сообщения: 10
- Регистрация: 21 янв 2016, 16:26
Re: Моделирование шпильки с гайками на концах
Подписываюсь по вопросом. Работаем в среде топинженер. Делаем все как говорит Дмитрий. Метизы считает, но в чертежах гайка не прорисовывается. Это особенность или можно как то исправить?
- Таран Д. А.
- Администратор
- Сообщения: 2877
- Регистрация: 30 ноя 2011, 18:41
- Откуда: г. Москва
- Контактная информация:
Re: Моделирование шпильки с гайками на концах
Так ты ее профилем шестиганником нарисуй.Ivan.cherkunov писал(а):Подписываюсь по вопросом. Работаем в среде топинженер. Делаем все как говорит Дмитрий. Метизы считает, но в чертежах гайка не прорисовывается. Это особенность или можно как то исправить?
Администратор Topengineer.ru 8 (495) 215-07-79 (офис) ; 8 (925) 755-9318 (сот.); Skype wildomen ; http://vk.com/tekla_structures
Разработка КМД | Разработка КМ | Разработка КЖ | Обучение Tekla Structures | Купить Tekla Structures
Разработка КМД | Разработка КМ | Разработка КЖ | Обучение Tekla Structures | Купить Tekla Structures
phpbb3 styles
Кто сейчас на конференции
Сейчас этот форум просматривают: нет зарегистрированных пользователей и 13 гостей

