Криволинейные лестницы в Tekla Structures
Криволинейные лестницы в Tekla Structures
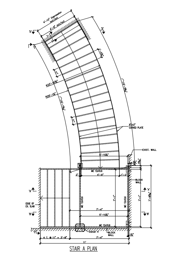
Здравствуйте! Подскажите, пожалуйста, как смоделировать косоур криволинейной в плане лестницы. Не получается сделать, что бы стенка швеллера была вертикально.
Получилось сделать стенки вертикально (подбирал углы поворота начала и конца швеллера), но подъем вышел не плавным. Можно ли вообще сделать так, чтобы косоур своим очертанием повторял опорный объект (лестницу)?
- Таран Д. А.
- Администратор
- Сообщения: 2877
- Регистрация: 30 ноя 2011, 18:41
- Откуда: г. Москва
- Контактная информация:
Re: Криволинейные лестницы в Tekla Structures
Так хитро выгнутый швеллер изготовить сложно.
Заводы не будут делать такой сложный элемент.
Скорее всего этот элемент будет в итоге заменен на несколько прямолинейных.
Вообще в том варианте, с поворот балки осуществляется очень просто.
В свойствах есть самой балки есть угол ее поворота – задайте нужный.
Если у вас происходит скручивание в спирать то и угол поворота спирали тоже есть в свойствах балки.
Заводы не будут делать такой сложный элемент.
Скорее всего этот элемент будет в итоге заменен на несколько прямолинейных.
Вообще в том варианте, с поворот балки осуществляется очень просто.
В свойствах есть самой балки есть угол ее поворота – задайте нужный.
Если у вас происходит скручивание в спирать то и угол поворота спирали тоже есть в свойствах балки.
Администратор Topengineer.ru 8 (495) 215-07-79 (офис) ; 8 (925) 755-9318 (сот.); Skype wildomen ; http://vk.com/tekla_structures
Разработка КМД | Разработка КМ | Разработка КЖ | Обучение Tekla Structures | Купить Tekla Structures
Разработка КМД | Разработка КМ | Разработка КЖ | Обучение Tekla Structures | Купить Tekla Structures
Re: Криволинейные лестницы в Tekla Structures
Знаю мастерскую в Италии, кто специализируется на таких элементах,(с оборачиванием каркаса полированнной нержавейкой!) наверное и в России можно найти вменяемый
заводик.
Re: Криволинейные лестницы в Tekla Structures
Делайте косоуры из листа, вместо швеллера, мы кучу таких винтовых лестниц сделали, только не забудьте на чертеже стрелкой указать направление вальцовки.maxcim856 писал(а):Здравствуйте! Подскажите, пожалуйста, как смоделировать косоур криволинейной в плане лестницы. Не получается сделать, что бы стенка швеллера была вертикально.
Re: Криволинейные лестницы в Tekla Structures
Аналогичная проблема, может кто подскажет как её решить:
При моделировании криволинейного косоура лестницы, концы швеллера или листа не вертикальны, приходится редактировать угол поворота этих концов, но после их редактирования деформируется косоур в другой плоскости: после изменения угла: Может я использую не тот инструмент? Моделировал по точкам гнутой балкой, предварительно поставив точки на высоту ступенек по окружности
При моделировании криволинейного косоура лестницы, концы швеллера или листа не вертикальны, приходится редактировать угол поворота этих концов, но после их редактирования деформируется косоур в другой плоскости: после изменения угла: Может я использую не тот инструмент? Моделировал по точкам гнутой балкой, предварительно поставив точки на высоту ступенек по окружности
Re: Криволинейные лестницы в Tekla Structures
Получается, что можно только инструментом "Построение треугольников" (19) и затем "Развертка поверхности"(21) В справке есть описание.
- teandrey89
- Сообщения: 120
- Регистрация: 11 июл 2012, 01:18
- Откуда: Saint Petersburg
Re: Криволинейные лестницы в Tekla Structures
Вот такую КРИВИНЬКУЮ лестницу довелось сделать мне.
Задавать скругление балкам не вариант т.т. в начале и в конце кривой косоур (на повороте) должен быть перпендикулярен полу и угол наклона на повороте другой чем на прямом косоуре (размазывается по длине ступеней)
Решено было делать из кусочков т.к. кроить легче и остатков меньше.
В качестве основы сегментов принял колонну(трубу) большого радиуса и потом ее обрезал как это делать см. картинки. (если с геометрией проблемы то будет не легко:) )
Будут вопросы спрашивайте...
На первой фотографии ее макет.
Задавать скругление балкам не вариант т.т. в начале и в конце кривой косоур (на повороте) должен быть перпендикулярен полу и угол наклона на повороте другой чем на прямом косоуре (размазывается по длине ступеней)
Решено было делать из кусочков т.к. кроить легче и остатков меньше.
В качестве основы сегментов принял колонну(трубу) большого радиуса и потом ее обрезал как это делать см. картинки. (если с геометрией проблемы то будет не легко:) )
Будут вопросы спрашивайте...
На первой фотографии ее макет.
Re: Криволинейные лестницы в Tekla Structures
Каким образом получили корректную развертку? Спасибо
Re: Криволинейные лестницы в Tekla Structures
Подскажите по криволинейным элементам.
Почему текла для криволинейного элемента указывает не длину по дуге, а расстояние между ручками?
Тоже касается и спецификации: атрибут "lenght" дает только расстояние между точками...
Почему текла для криволинейного элемента указывает не длину по дуге, а расстояние между ручками?
Тоже касается и спецификации: атрибут "lenght" дает только расстояние между точками...
phpbb3 styles
Кто сейчас на конференции
Сейчас этот форум просматривают: нет зарегистрированных пользователей и 11 гостей

