Настройка выносок, размеров в чертежах Tekla Structures в чертежах КМ, КМД, КЖ, АР
Настройка выносок, размеров в чертежах Tekla Structures в чертежах КМ, КМД, КЖ, АР
Есть ли возможность в этой удивительной программе автоматом писать диагональ треугольника?
Re: Настройка выносок, размеров в чертежах
Должно быть тебе поможет:
XS_NO_BOLT_ANGLE_DIMENSIONS
В категории Простановка размеров: болты
Однако это будет выглядеть немного по другому при двойных рядах болтов т.е. не по оси а по одной из линий отверстий
XS_NO_BOLT_ANGLE_DIMENSIONS
В категории Простановка размеров: болты
Однако это будет выглядеть немного по другому при двойных рядах болтов т.е. не по оси а по одной из линий отверстий
Последний раз редактировалось Айдар 14 фев 2012, 12:47, всего редактировалось 1 раз.
Re: Настройка выносок, размеров в чертежах
это переключатель создавать/не создавать, а мне надо внешний вид представления изменить
Re: Настройка выносок, размеров в чертежах
Для настройки вида треугольника отредактируй его в настройках чертежа, и в настройке XS_ANGLE_DIMENSION_SYMBOL_SIZE_FACTOR
По диагонали нет настроек!
По диагонали нет настроек!
Re: Настройка выносок, размеров в чертежах
единственно как вариант дополнения информации на треугольнике, это установка градуса!
Re: Настройка выносок, размеров в чертежах
градус это конечно хорошо. но в цехе гораздо удобнее/привычнее/точнее ловить линейные размеры. градусы даже в КМ - вспомогательное значение. строится все по линейным размерам
Re: Настройка выносок, размеров в чертежах
Ну, имея два базовых размеров (причем условных, скажем 1000 на ???), остается лишь четко соблюсти между ними 90`
Re: Настройка выносок, размеров в чертежах
так-то оно конечно так...только все-таки у нас на сборке рулят размеры, а не углы 
-
dimitriy_popov
- Сообщения: 103
- Регистрация: 15 дек 2011, 10:02
- Откуда: Тула
Re: Настройка выносок, размеров в чертежах Tekla Structures
Возможно ли создать метку для отверстий (высокопрочные и обычные болты) одним шаблоном, как на скриншоте?
Или как можно заставить в этом шаблоне (записанном одной строкой) осуществить перенос текста "под в/п болты" на другую строку, если добавить условие на стандарт болтов?
А так получается метка, но она "длинная" или создает пустую строку при двухстрочном шаблоне.
Или как можно заставить в этом шаблоне (записанном одной строкой) осуществить перенос текста "под в/п болты" на другую строку, если добавить условие на стандарт болтов?
А так получается метка, но она "длинная" или создает пустую строку при двухстрочном шаблоне.
Re: Настройка выносок, размеров в чертежах Tekla Structures
Возможно!
Смотри ниже
Во второй стороке как раз можешь задать свои условия!
Смотри ниже
Во второй стороке как раз можешь задать свои условия!
-
dimitriy_popov
- Сообщения: 103
- Регистрация: 15 дек 2011, 10:02
- Откуда: Тула
Re: Настройка выносок, размеров в чертежах Tekla Structures
о том и речь что при не выполнении условия вторая строка остается в метке в виде пустой строки и она смещает подчеркивание от первой строки.
Re: Настройка выносок, размеров в чертежах Tekla Structures
Задай услшовие, если это не высокопрочный болт, то вписывать формулу для обычного болта во второй строке.
Re: Настройка выносок, размеров в чертежах Tekla Structures
для обычного болта можно вторую строку не выводить вообщеАйдар писал(а):Задай услшовие, если это не высокопрочный болт, то вписывать формулу для обычного болта во второй строке.
Re: Настройка выносок, размеров в чертежах Tekla Structures
Можно и не выводить!
Возможно двумя строками шаблон сделать.
Возможно двумя строками шаблон сделать.
Re: Настройка выносок, размеров в чертежах Tekla Structures
как вариант можно сделать так:
С помощью "Редактировать настройки, использовать подробные настройки уровня объекта",
поставить условие для высокопрочных болтов ставить метку (в архиве сама метка в/п болта).
так же можно поставить условие и на простые болты.
С помощью "Редактировать настройки, использовать подробные настройки уровня объекта",
поставить условие для высокопрочных болтов ставить метку (в архиве сама метка в/п болта).
так же можно поставить условие и на простые болты.
- Вложения
-
болт.zip- (1.15 КБ) 5612 скачиваний
Администратор Topengineer.ru 8 (495) 215-07-79 (офис) ; 8 (925) 755-9316 (сот.); Skype: perezhog
Разработка КМД | Разработка КМ | Обучение Tekla Structures
Разработка КМД | Разработка КМ | Обучение Tekla Structures
-
dimitriy_popov
- Сообщения: 103
- Регистрация: 15 дек 2011, 10:02
- Откуда: Тула
Re: Настройка выносок, размеров в чертежах Tekla Structures
Спасибо! То что нужно, все получилось.CuPo>I<a писал(а):для обычного болта можно вторую строку не выводить вообще
-
Bagiration
- Сообщения: 52
- Регистрация: 05 фев 2012, 14:02
Re: Настройка выносок, размеров в чертежах Tekla Structures
Добрый день. При оформлении чертежей столкнулся с такой проблемой. Она не архиважная, однако, кушает время и нервы...
Вот, к примеру я сохранил свои настройки ВИДА под именем Х, однако, тыкая 2 раза по рамке вида в окне свойств не будет отображаться название настройки, которая назначалась изначально, а будет писать другую, допустим Y. И кнопка "Получить" тоже неактивна... Как Вы решаете эту проблему?
С уважением...
Вот, к примеру я сохранил свои настройки ВИДА под именем Х, однако, тыкая 2 раза по рамке вида в окне свойств не будет отображаться название настройки, которая назначалась изначально, а будет писать другую, допустим Y. И кнопка "Получить" тоже неактивна... Как Вы решаете эту проблему?
С уважением...
- vladimir_a
- Сообщения: 699
- Регистрация: 07 дек 2011, 21:22
Re: Настройка выносок, размеров в чертежах Tekla Structures
Что -то пока такого не замечал. А можно со скринамиBagiration писал(а):Добрый день. При оформлении чертежей столкнулся с такой проблемой. Она не архиважная, однако, кушает время и нервы...
Вот, к примеру я сохранил свои настройки ВИДА под именем Х, однако, тыкая 2 раза по рамке вида в окне свойств не будет отображаться название настройки, которая назначалась изначально, а будет писать другую, допустим Y. И кнопка "Получить" тоже неактивна... Как Вы решаете эту проблему?
С уважением...
Re: Настройка выносок, размеров в чертежах Tekla Structures
Вопрос вот в чем,
Обозначение овальных отверстий автоматом.
Само обозначение сделал (во вложении).
Хочу в "Редактировать настройки" поставить условие: если "неизвестный параметр", то ставить мету для овальных отверстий.
Не могу найти этот параметр и как это сделать.
Вроде как это " длина паза" или "DIAMETER_X" или "DIAMETER_Y".
Или это можно по другому решить?
Обозначение овальных отверстий автоматом.
Само обозначение сделал (во вложении).
Хочу в "Редактировать настройки" поставить условие: если "неизвестный параметр", то ставить мету для овальных отверстий.
Не могу найти этот параметр и как это сделать.
Вроде как это " длина паза" или "DIAMETER_X" или "DIAMETER_Y".
Или это можно по другому решить?
- Вложения
-
Овальное_отверстие.zip- (1.2 КБ) 5598 скачиваний
Администратор Topengineer.ru 8 (495) 215-07-79 (офис) ; 8 (925) 755-9316 (сот.); Skype: perezhog
Разработка КМД | Разработка КМ | Обучение Tekla Structures
Разработка КМД | Разработка КМ | Обучение Tekla Structures
- vladimir_a
- Сообщения: 699
- Регистрация: 07 дек 2011, 21:22
Re: Настройка выносок, размеров в чертежах Tekla Structures
Длина паза (х) или (y)Alex писал(а):Вопрос вот в чем,
Обозначение овальных отверстий автоматом.
Само обозначение сделал (во вложении).
Хочу в "Редактировать настройки" поставить условие: если "неизвестный параметр", то ставить мету для овальных отверстий.
Не могу найти этот параметр и как это сделать.
Вроде как это " длина паза" или "DIAMETER_X" или "DIAMETER_Y".
Или это можно по другому решить?
Re: Настройка выносок, размеров в чертежах Tekla Structures
а как его в фильтр сохранить?
ведь мне надо создать сначала фильтр и сохранить его.
категория, свойство, равно, значение - что написать в этих столбцах в окне свойства фильтра,
что бы фильтровались продолговатые отверстия.
Вот собственно в чем вопрос.
ведь мне надо создать сначала фильтр и сохранить его.
категория, свойство, равно, значение - что написать в этих столбцах в окне свойства фильтра,
что бы фильтровались продолговатые отверстия.
Вот собственно в чем вопрос.
Администратор Topengineer.ru 8 (495) 215-07-79 (офис) ; 8 (925) 755-9316 (сот.); Skype: perezhog
Разработка КМД | Разработка КМ | Обучение Tekla Structures
Разработка КМД | Разработка КМ | Обучение Tekla Structures
- vladimir_a
- Сообщения: 699
- Регистрация: 07 дек 2011, 21:22
Re: Настройка выносок, размеров в чертежах Tekla Structures
А если диаметр х продолговатое отверстие. но они могут по (х) или (y)
Re: Настройка выносок, размеров в чертежах Tekla Structures
Хорошо, а как у вас обозначаются продолговатые отверстия.
Вот раньше как то их не было, а тут появились в большом количестве.
В ручную ставить не хочу.
Как настроить автоматом знаю, но для этого мне надо сделать "фильтр - по продолговатым отверстиям"
Вот раньше как то их не было, а тут появились в большом количестве.
В ручную ставить не хочу.
Как настроить автоматом знаю, но для этого мне надо сделать "фильтр - по продолговатым отверстиям"
Администратор Topengineer.ru 8 (495) 215-07-79 (офис) ; 8 (925) 755-9316 (сот.); Skype: perezhog
Разработка КМД | Разработка КМ | Обучение Tekla Structures
Разработка КМД | Разработка КМ | Обучение Tekla Structures
Re: Настройка выносок, размеров в чертежах Tekla Structures
фильтр на строку
if (GetValue("LONG_HOLE_X")!=0 || GetValue("LONG_HOLE_X")!=0) then
Output()
else
StepOver()
endif
а его размер будет
int(GetValue("LONG_HOLE_X")+GetValue("DIAMETER"))+"х"+int(GetValue("LONG_HOLE_Y")+GetValue("DIAMETER"))
if (GetValue("LONG_HOLE_X")!=0 || GetValue("LONG_HOLE_X")!=0) then
Output()
else
StepOver()
endif
а его размер будет
int(GetValue("LONG_HOLE_X")+GetValue("DIAMETER"))+"х"+int(GetValue("LONG_HOLE_Y")+GetValue("DIAMETER"))
pdimav1979(не собака)yandex.ru
Re: Настройка выносок, размеров в чертежах Tekla Structures
спасибо,
что то забыл что условие можно и в шаблоне делать,
хотел через фильтр в чертеже сделать,
сейчас переделаю шаблон
что то забыл что условие можно и в шаблоне делать,
хотел через фильтр в чертеже сделать,
сейчас переделаю шаблон
Администратор Topengineer.ru 8 (495) 215-07-79 (офис) ; 8 (925) 755-9316 (сот.); Skype: perezhog
Разработка КМД | Разработка КМ | Обучение Tekla Structures
Разработка КМД | Разработка КМ | Обучение Tekla Structures
Re: Настройка выносок, размеров в чертежах Tekla Structures
Что то не получилось сделать универсальную метку как для круглых так и для овальных отверстий.
Зато получилось сделать автоматическое обозначение отверстий следующим образом:
1. Настраиваем фильтр для круглых отверстий
2. В настройках уровней объектов указываем - круглые отверстия маркировать как standard,
соответственно в остальных случаях (когда овальные отверстия) брать метку из шаблона.
3. Как результат автоматически все проставляется как надо.
Может можно и проще, но что то никак не получается.
Зато получилось сделать автоматическое обозначение отверстий следующим образом:
1. Настраиваем фильтр для круглых отверстий
2. В настройках уровней объектов указываем - круглые отверстия маркировать как standard,
соответственно в остальных случаях (когда овальные отверстия) брать метку из шаблона.
3. Как результат автоматически все проставляется как надо.
Может можно и проще, но что то никак не получается.
Администратор Topengineer.ru 8 (495) 215-07-79 (офис) ; 8 (925) 755-9316 (сот.); Skype: perezhog
Разработка КМД | Разработка КМ | Обучение Tekla Structures
Разработка КМД | Разработка КМ | Обучение Tekla Structures
- vladimir_a
- Сообщения: 699
- Регистрация: 07 дек 2011, 21:22
Re: Настройка выносок, размеров в чертежах Tekla Structures
у нас вроде получилось расширенными настройками добиться "нормальных" выносок
в группе "обозначения:болты". там есть же настройки отдельно для отверстий и отдельно для овальных отверстий....
или я не о том?
%BOLT_NUMBER% ов. отв. %HOLE_DIAMETER+LONGHOLE_X%x%HOLE_DIAMETER+LONGHOLE_Y%
в группе "обозначения:болты". там есть же настройки отдельно для отверстий и отдельно для овальных отверстий....
или я не о том?
%BOLT_NUMBER% ов. отв. %HOLE_DIAMETER+LONGHOLE_X%x%HOLE_DIAMETER+LONGHOLE_Y%
Re: Настройка выносок, размеров в чертежах Tekla Structures
Ну прямо чудеса,
я так и думал что можно по другому сделать,
Спасибо
вот только значок диаметра наверно не вставить, %xsteel@0% сходу не прокатило
я так и думал что можно по другому сделать,
Спасибо
вот только значок диаметра наверно не вставить, %xsteel@0% сходу не прокатило
Администратор Topengineer.ru 8 (495) 215-07-79 (офис) ; 8 (925) 755-9316 (сот.); Skype: perezhog
Разработка КМД | Разработка КМ | Обучение Tekla Structures
Разработка КМД | Разработка КМ | Обучение Tekla Structures
Re: Настройка выносок, размеров в чертежах Tekla Structures
%BOLT_NUMBER% отв. xsteel@139 %HOLE_DIAMETER% 
- vladimir_a
- Сообщения: 699
- Регистрация: 07 дек 2011, 21:22
Re: Настройка выносок, размеров в чертежах Tekla Structures
В идеале два линейных размера ширина и длина. Значок не нуженAlex писал(а):
вот только значок диаметра наверно не вставить, %xsteel@0% сходу не прокатило
Re: Настройка выносок, размеров в чертежах Tekla Structures
все получилось,
спасибо
сделал так:
XS_SITE_HOLE_MARK_STRING_FOR_SIZE=%BOLT_NUMBER% отв. xsteel@0 %HOLE_DIAMETER%
XS_SITE_LONGHOLE_MARK_STRING_FOR_SIZE=%BOLT_NUMBER% ов.отв. %HOLE_DIAMETER+LONGHOLE_X%x%HOLE_DIAMETER+LONGHOLE_Y%
спасибо
сделал так:
XS_SITE_HOLE_MARK_STRING_FOR_SIZE=%BOLT_NUMBER% отв. xsteel@0 %HOLE_DIAMETER%
XS_SITE_LONGHOLE_MARK_STRING_FOR_SIZE=%BOLT_NUMBER% ов.отв. %HOLE_DIAMETER+LONGHOLE_X%x%HOLE_DIAMETER+LONGHOLE_Y%
Администратор Topengineer.ru 8 (495) 215-07-79 (офис) ; 8 (925) 755-9316 (сот.); Skype: perezhog
Разработка КМД | Разработка КМ | Обучение Tekla Structures
Разработка КМД | Разработка КМ | Обучение Tekla Structures
Re: Настройка выносок, размеров в чертежах Tekla Structures
Вопрос про символ. А возможное его вставить как стандартный символ Windows?
Шрифт GOST 2.304 type A символ: U+2205: Empty Set
Шрифт GOST 2.304 type A символ: U+2205: Empty Set
Re: Настройка выносок, размеров в чертежах Tekla Structures
Скажите можно ли редактировать размер (величину размера). Т.е. отключить авторазмер. Чтобы не менять в моделе деталь.
Последний раз редактировалось Дмитрий 08 май 2012, 16:35, всего редактировалось 2 раза.
- vladimir_a
- Сообщения: 699
- Регистрация: 07 дек 2011, 21:22
Re: Настройка выносок, размеров в чертежах Tekla Structures
Менять можно в свойствах размера. Только это чревато
Re: Настройка выносок, размеров в чертежах Tekla Structures
Здравствуйте. А можно объяснить чем это чревато? Я просто новичок и многих тонкостей программы еще не знаю. И что делать, если размеры отличаются от нужных на пару миллиметров?vla писал(а):Менять можно в свойствах размера. Только это чревато
Re: Настройка выносок, размеров в чертежах Tekla Structures
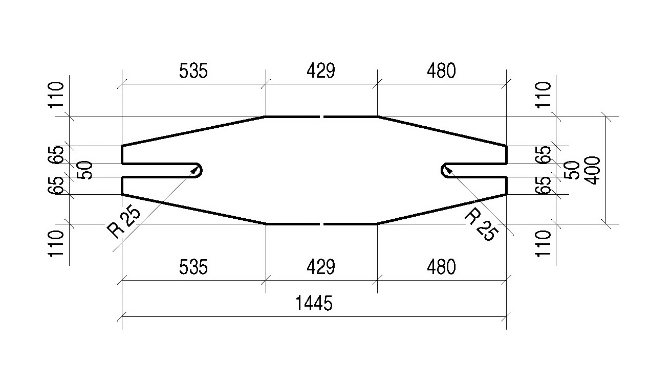
Всем доброго времени суток! Есть такая деталь "рыбка". Частенько встречается в проектах. Но в чертеже отдельной детали не ставится автоматически размер паза. Что изменить в настройках? Вроде уже все перепроповал...
Вручную конечно не долго поставить, но бывает что пропускаешь, а потом вопросы на производстве... Хотелось бы автоматизировать данный размер.
Вручную конечно не долго поставить, но бывает что пропускаешь, а потом вопросы на производстве... Хотелось бы автоматизировать данный размер.
Re: Настройка выносок, размеров в чертежах Tekla Structures
покажи как ты ее в модели делаешь, и тогда может и подскажем)pv-maks писал(а):Всем доброго времени суток! Есть такая деталь "рыбка". Частенько встречается в проектах. Но в чертеже отдельной детали не ставится автоматически размер паза. Что изменить в настройках? Вроде уже все перепроповал...
Вручную конечно не долго поставить, но бывает что пропускаешь, а потом вопросы на производстве... Хотелось бы автоматизировать данный размер.
Re: Настройка выносок, размеров в чертежах Tekla Structures
Делаю пластину прямоугольную, углы срезаю в свойствах фасок, а паз делаю вырезом прямоугольником и фаски скругляю... Ну вот как то так.
Re: Настройка выносок, размеров в чертежах Tekla Structures
делай контурной пластинойpv-maks писал(а):Делаю пластину прямоугольную, углы срезаю в свойствах фасок, а паз делаю вырезом прямоугольником и фаски скругляю... Ну вот как то так.
Re: Настройка выносок, размеров в чертежах Tekla Structures
Да при таком построении размеры ставятся. Но, делать вырез прямоугольникам удобнее, его можно скопировать например...ведь в базах колонн по четыре таких выреза бывает. А чертить базу колонны с четырьмя вырезами контурной пластиной...это черезчур. Проще тогда вручную добавлять эти размеры.ZMK писал(а):делай контурной пластинойpv-maks писал(а):Делаю пластину прямоугольную, углы срезаю в свойствах фасок, а паз делаю вырезом прямоугольником и фаски скругляю... Ну вот как то так.
Re: Настройка выносок, размеров в чертежах Tekla Structures
Подскажите пожалуйста, как поменять на чертеже размер кружка в обозначении оси?
И как можно эти кружки раздвинуть, чтоб не налезали друг на друга? И еще, можно как-то скрыть обозначения отдельных осей?
И как можно эти кружки раздвинуть, чтоб не налезали друг на друга? И еще, можно как-то скрыть обозначения отдельных осей?
Re: Настройка выносок, размеров в чертежах Tekla Structures
почитал бы помошь "Сетки на чертежах"
Re: Настройка выносок, размеров в чертежах Tekla Structures
Как сделать чтобы метка армирования располагалась не по середине арматурного стержня а с краю? В отличии от меток деталей, метка армирования не имеет ручку и руками перенести не получается.Поиски в расширенные параметры не дал результатов.
Re: Настройка выносок, размеров в чертежах Tekla Structures
какая версия? точно не знаю про выноски арматуры, но в 18 ассоциативные примечания и текст можно переносить
Re: Настройка выносок, размеров в чертежах Tekla Structures
Попробуй переносить с зажатым шифтом. Я работаю в 15. Зажатый шифт переносит.mischa писал(а):Как сделать чтобы метка армирования располагалась не по середине арматурного стержня а с краю? В отличии от меток деталей, метка армирования не имеет ручку и руками перенести не получается.Поиски в расширенные параметры не дал результатов.
Re: Настройка выносок, размеров в чертежах Tekla Structures
и точноStanislav писал(а):Попробуй переносить с зажатым шифтом. Я работаю в 15. Зажатый шифт переносит.mischa писал(а):Как сделать чтобы метка армирования располагалась не по середине арматурного стержня а с краю? В отличии от меток деталей, метка армирования не имеет ручку и руками перенести не получается.Поиски в расширенные параметры не дал результатов.
Re: Настройка выносок, размеров в чертежах Tekla Structures
Спасибо!действительно работает!Проверил дома на 18-ой.А на работе стоит 17.2(или 17.3) и там ручек совсем нет.Видимо глюк или в версии нет возможности.
Кстати подскажите еще, как убрать префикс арматуры в обозначении маркера арматуры.т.е. при использовании элемента метки Положение он выводит Префикс /позицию. Можно конечно использовать шаблон, но тогда сложности с объединением маркеров.
Кстати подскажите еще, как убрать префикс арматуры в обозначении маркера арматуры.т.е. при использовании элемента метки Положение он выводит Префикс /позицию. Можно конечно использовать шаблон, но тогда сложности с объединением маркеров.
-
construct1
- Сообщения: 15
- Регистрация: 22 июл 2012, 21:43
Re: Настройка выносок, размеров в чертежах Tekla Structures
Доброго времени суток! Подскажите, кто знает. Где настроить размеры, чтобы размерная линия начиналась от обьекта без отступа.
Re: Настройка выносок, размеров в чертежах Tekla Structures
Как сделать так, чтобы абсолютные и относительные величины в размерах не накладывались при малых расстояниях?
Re: Настройка выносок, размеров в чертежах Tekla Structures
в 18 текле можно текст переносить
Re: Настройка выносок, размеров в чертежах Tekla Structures
текст перенести можно только относительных размеров, а хотелось бы абсолютные сместить, чтоб не накладывались.
- Таран Д. А.
- Администратор
- Сообщения: 2877
- Регистрация: 30 ноя 2011, 18:41
- Откуда: г. Москва
- Контактная информация:
Re: Настройка выносок, размеров в чертежах Tekla Structures
Как правело можно перенести точку с нулем в другую сторону пластины. Тогда цифры будут вывернуты в другую сторону и проблемы не будет.Sadubby писал(а):текст перенести можно только относительных размеров, а хотелось бы абсолютные сместить, чтоб не накладывались.
Администратор Topengineer.ru 8 (495) 215-07-79 (офис) ; 8 (925) 755-9318 (сот.); Skype wildomen ; http://vk.com/tekla_structures
Разработка КМД | Разработка КМ | Разработка КЖ | Обучение Tekla Structures | Купить Tekla Structures
Разработка КМД | Разработка КМ | Разработка КЖ | Обучение Tekla Structures | Купить Tekla Structures
Re: Настройка выносок, размеров в чертежах Tekla Structures
Видел в примерах ваших чертежей, что сделано таким образом. Как это было получено?Таран Д. А. писал(а):Как правело можно перенести точку с нулем в другую сторону пластины. Тогда цифры будут вывернуты в другую сторону и проблемы не будет.Sadubby писал(а):текст перенести можно только относительных размеров, а хотелось бы абсолютные сместить, чтоб не накладывались.
- Таран Д. А.
- Администратор
- Сообщения: 2877
- Регистрация: 30 ноя 2011, 18:41
- Откуда: г. Москва
- Контактная информация:
Re: Настройка выносок, размеров в чертежах Tekla Structures
После того как вы указали все точки в размерной цепочек последняя точка на колесико мышки тоже ставится, она как раз и указывает направление разворота размера.
Администратор Topengineer.ru 8 (495) 215-07-79 (офис) ; 8 (925) 755-9318 (сот.); Skype wildomen ; http://vk.com/tekla_structures
Разработка КМД | Разработка КМ | Разработка КЖ | Обучение Tekla Structures | Купить Tekla Structures
Разработка КМД | Разработка КМ | Разработка КЖ | Обучение Tekla Structures | Купить Tekla Structures
Re: Настройка выносок, размеров в чертежах Tekla Structures
Спасибо, получилось.Таран Д. А. писал(а):После того как вы указали все точки в размерной цепочек последняя точка на колесико мышки тоже ставится, она как раз и указывает направление разворота размера.
Re: Настройка выносок, размеров в чертежах Tekla Structures
Можно ли сделать(поменять размер) стрелку для линии выноски свойства маркера соединения.Чтобы получилось так
- Таран Д. А.
- Администратор
- Сообщения: 2877
- Регистрация: 30 ноя 2011, 18:41
- Откуда: г. Москва
- Контактная информация:
Re: Настройка выносок, размеров в чертежах Tekla Structures
А чем создание самого вида узла не устраивает? Размер шарика сам выбираешь да и узел создаешь. Ну и перенести на другой чертеж не проблема.mischa писал(а):Можно ли сделать(поменять размер) стрелку для линии выноски свойства маркера соединения. Чтобы получилось так
Администратор Topengineer.ru 8 (495) 215-07-79 (офис) ; 8 (925) 755-9318 (сот.); Skype wildomen ; http://vk.com/tekla_structures
Разработка КМД | Разработка КМ | Разработка КЖ | Обучение Tekla Structures | Купить Tekla Structures
Разработка КМД | Разработка КМ | Разработка КЖ | Обучение Tekla Structures | Купить Tekla Structures
Re: Настройка выносок, размеров в чертежах Tekla Structures
Подскажите опять я в тупике, можно ли добавить свой символ узла через свойство вида? если можно то как?
Re: Настройка выносок, размеров в чертежах Tekla Structures
Здравствуйте, подскажите есть ли переменная которая позволяет настраивать начальную точку выноски болта? при постановки метки болта привязка происходит не к болту а к детали...
Re: Настройка выносок, размеров в чертежах Tekla Structures
выноска идет к болту
Re: Настройка выносок, размеров в чертежах Tekla Structures
в предыдущем случае еще можно разобраться, а как быть с этим случаем? за ручки не двигается...CuPo>I<a писал(а):выноска идет к болту
Re: Настройка выносок, размеров в чертежах Tekla Structures
виды, разрезы, сечения для кого придумали?!
3D - это картинка
3D - это картинка
-
Bagiration
- Сообщения: 52
- Регистрация: 05 фев 2012, 14:02
Re: Настройка выносок, размеров в чертежах Tekla Structures
Добрый день, уважаемые.
Уже который раз хочу узнать как можно сделать такой размер в Текле.
Прикладываю чертёж, который был сделан в Текле.
Уже который раз хочу узнать как можно сделать такой размер в Текле.
Прикладываю чертёж, который был сделан в Текле.
Re: Настройка выносок, размеров в чертежах Tekla Structures
в 18 - легко - просто перенести крайнюю точку и размерный текст
Re: Настройка выносок, размеров в чертежах Tekla Structures
попробуйте перетянуть метку с зажатой клавишей "Shift"troy-47 писал(а):в предыдущем случае еще можно разобраться, а как быть с этим случаем? за ручки не двигается...CuPo>I<a писал(а):выноска идет к болту
«Есть только две бесконечные вещи: Вселенная и глупость. Хотя насчет Вселенной я не вполне уверен.» А. Эйнштейн
-
Bagiration
- Сообщения: 52
- Регистрация: 05 фев 2012, 14:02
Re: Настройка выносок, размеров в чертежах Tekla Structures
Спасибо, всем. Получилось. Надо просто воспользоваться менюшкой Теги. Как-то раньше через них у меня не получалось. Щас получилось...
Re: Настройка выносок, размеров в чертежах Tekla Structures
Кто подскажет какой параметр отвечает за то, что б по умолчанию размер привязки пластин (ребер жескости например) был по центру?
Re: Настройка выносок, размеров в чертежах Tekla Structures
Как создавать такой размер на выноске???? 
-
dimitriy_popov
- Сообщения: 103
- Регистрация: 15 дек 2011, 10:02
- Откуда: Тула
Re: Настройка выносок, размеров в чертежах Tekla Structures
ни как.PPS писал(а):Как создавать такой размер на выноске????
можно задать приувеличение размера, чтоб текла сама расширила расстояние между засечками.
Re: Настройка выносок, размеров в чертежах Tekla Structures
У человека как-то плучилось.
viewtopic.php?f=5&t=2207#p11217
viewtopic.php?f=5&t=2207#p11217
Re: Настройка выносок, размеров в чертежах Tekla Structures
Скорее всего там автокадPPS писал(а):У человека как-то плучилось.
viewtopic.php?f=5&t=2207#p11217
Re: Настройка выносок, размеров в чертежах Tekla Structures
хорошо, но и приувеличение не хочет работатьdimitriy_popov писал(а):ни как.PPS писал(а):Как создавать такой размер на выноске????
можно задать приувеличение размера, чтоб текла сама расширила расстояние между засечками.
-
dimitriy_popov
- Сообщения: 103
- Регистрация: 15 дек 2011, 10:02
- Откуда: Тула
Re: Настройка выносок, размеров в чертежах Tekla Structures
Подробности - F1.PPS писал(а):хорошо, но и приувеличение не хочет работать
Re: Настройка выносок, размеров в чертежах Tekla Structures
dimitriy_popov спасибо!
Re: Настройка выносок, размеров в чертежах Tekla Structures в чертежах КМ, КМД, КЖ, АР
кто сталкивался с тем что при компановке листа А4 (горизонтально) нет не одной таблицы? - на всех остальных форматах есть таблицы а на этом нет
Re: Настройка выносок, размеров в чертежах Tekla Structures в чертежах КМ, КМД, КЖ, АР
выберите компановку и таблицы появятся
«Есть только две бесконечные вещи: Вселенная и глупость. Хотя насчет Вселенной я не вполне уверен.» А. Эйнштейн
Re: Настройка выносок, размеров в чертежах Tekla Structures в чертежах КМ, КМД, КЖ, АР
спасибо огромное!. Все рядом только надо внимательно глаза раскрыть. Да все получилось.
просто странно когда загружаю формат то пишет компановку КМД но таблицы нет , а когда повторно открываю свойства видов то уже компоновки нет. Вобщем главное то что решение есть. Спасибо большое еще раз.
Re: Настройка выносок, размеров в чертежах Tekla Structures в чертежах КМ, КМД, КЖ, АР
Вопрос по текстовой выноске.
Как сделать текст под линией выноски???
Как сделать текст под линией выноски???
phpbb3 styles
Кто сейчас на конференции
Сейчас этот форум просматривают: нет зарегистрированных пользователей и 7 гостей

