Здравтсвуйте, подскажите пожалуйста как собрать снеговую нагрузку на козырек? Ширина 1м, высота до кровли - 9м. Какую схему из СП выбрать для высоты h?
Задание снеговой нагрузки в ЛИРА-САПР
Re: Задание снежной нагрузки в ЛИРА-САПР
А какая высота козырька?
Re: Задание снежной нагрузки в ЛИРА-САПР
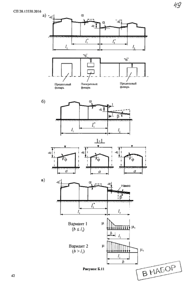
Обычное прямоугольное. Я думал, что в рисунке В, а у меня нет ската на козырьке, наверное что-то другое
Re: Задание снежной нагрузки в ЛИРА-САПР
Тогда я бы взял схему покрытия с парапетом, скраю берем мю = 1, а в центре высчитавываем по формуле
h у вас будет 9м. Но там мю больше трех не бывает, поэтому берите 3, но зато с запасом
Это у вас что такое, где расстежение? Если это балка, я бы ее снизу сделал
h у вас будет 9м. Но там мю больше трех не бывает, поэтому берите 3, но зато с запасом
Это у вас что такое, где расстежение? Если это балка, я бы ее снизу сделал
Re: Задание снежной нагрузки в ЛИРА-САПР
Это тяжи. Такую концепцию захотели в КМ, да и дешевле тяж закупить, чем большую балку
phpbb3 styles
Кто сейчас на конференции
Сейчас этот форум просматривают: нет зарегистрированных пользователей и 9 гостей

