Задание сложной ветровой нагрузки в ЛИРА 2019
Задание сложной ветровой нагрузки в ЛИРА 2019
Как задать распределённую нагрузку по радиусу перпендикулярно поверхности в каждой точке? Например на круглое здание
Re: Задание сложной ветровой нагрузки в ЛИРА 2019
Расчет сложной ветровой нагрузки - это всегда сложная задача в ЛИРЕ. Тут нет обдува, как, например, в Роботе. К сожалению нужно открывать СП 20.13330 Нагрузки и воздействия, читаем всю теорию по расчету ветра.
Re: Задание сложной ветровой нагрузки в ЛИРА 2019
Очень распространенная ошибка - думать, что ветер дует только с одной стороны, там намного все сложнее, вам нужно обдуть конструкцию с четырех сторон. Поэтому в вашем случае нужно не только один раз обдувать, а анализировать как ветер будет дуть с разных сторон. Если рядом стоят какие-то здания, то они будут либо уиливать, либо препятствовать
Re: Задание сложной ветровой нагрузки в ЛИРА 2019
Да это все понятно, я проитал, но моего случа там нет
Re: Задание сложной ветровой нагрузки в ЛИРА 2019
Смотрите, переходите в СП и открывайте Приложение В. Там будут более подробные объяснения как считать ветер. Вообще всегда с ним был гемор. Раньше вообще считали это дело руками, ужас.
Нашел для прямоугольника
Нашел для прямоугольника
Re: Задание сложной ветровой нагрузки в ЛИРА 2019
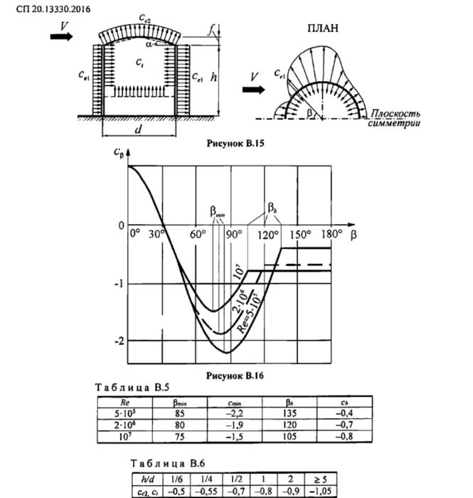
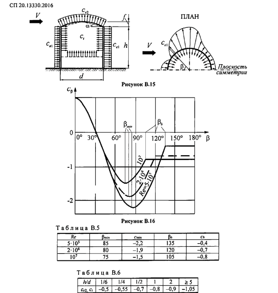
А вот и для сферы
Подбираем коэффициенты по таблицам
Re: Задание сложной ветровой нагрузки в ЛИРА 2019
Так, хорошо. Я посчитал, а как теперь задать в ЛИРА САПР?
Re: Задание сложной ветровой нагрузки в ЛИРА 2019
Рекомендую вам в дальнейшем почитать пособие, где все подробнее рассказывается, чем в СП
- Вложения
-
Rukovodstvo_po_raschetu_zdaniy_i_sooruzheniy_na_deystvie_vetra.pdf- (7.93 МБ) 5717 скачиваний
Re: Задание сложной ветровой нагрузки в ЛИРА 2019
Ох, это большой гемор. У нас инженеры считали такие формы, поняли, что робот считает неправильно. Решили действовать по Еврокоду, там подробнее
Человек 3 недели потратил на написание экселевского файлика, где из Лиры мы испортируем все координаты точек этого круга, затем задаем выгружаем ветровую нагрузку, затем эксель считает коэффициенты, мы готовые значения импортируем обратно и получаем как раз такую же картину из нагрузок.
Затем задаем коэффициент и нагрузка подстаивается под него. В общем большой гемор. Но результаты получились точнее, чем при обдуве в роботе, потому что робот плохо обдувает круглые конструкции.
Re: Задание сложной ветровой нагрузки в ЛИРА 2019
Для прямоугольных зданий мы используем расчет Маткада, посмотрите на изображение. Для обычного домика столько областей загружений, так это еще при условии, что он дует с одной стороны, а обдувать нужно с четырех
Re: Задание сложной ветровой нагрузки в ЛИРА 2019
Просто ужас, пойду учить матчасть, спасибо за развернутый ответ
Re: Задание сложной ветровой нагрузки в ЛИРА 2019
Еще видео по ветру и снегу
phpBB [media]
phpbb3 styles
Кто сейчас на конференции
Сейчас этот форум просматривают: нет зарегистрированных пользователей и 6 гостей

